English
首页
关于我们
新闻中心
产品中心
消费者中心
公开信息披露专栏
党的建设
招贤纳士
联系我们
多元解纷
消费者中心
常见问题
投保流程
退保流程
索赔指南
机动车辆保险业...
非机动车辆保险...
消费风险提示
监管提示
英大财险提示
车险服务信息
非车险服务信息
首页
>
消费者中心
>
消费风险提示
>
英大财险提示
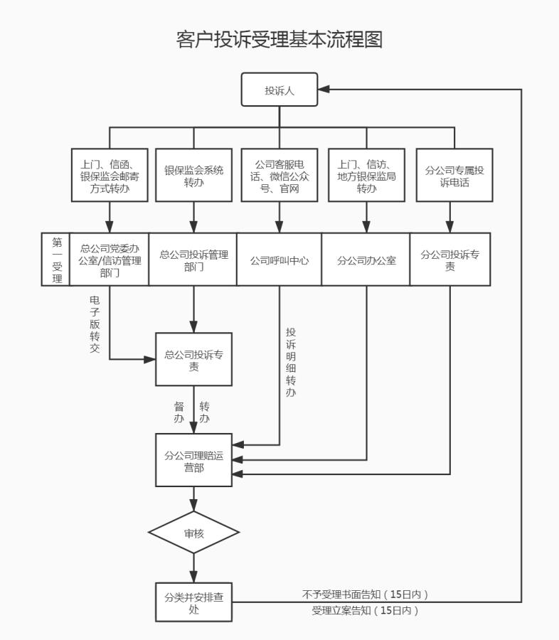
客户投诉受理基本流程图
发布时间:
2021-05-31
信息来源:
英大财险